從第三方正規渠道獲悉,并得到航天智造(廈門)科技研究院的官方回復確認:2025年12月02號,航天智造(廈門)科技研究院通過合法途徑已經完全獲得了“北京天驕航空產業投資有限公司”的所有品牌無形資產及航空技術無形資產(包括5項天驕航空商標、17項計算機軟件著作權、1項作品著作權)。這為航天智造(廈門)科技研究院的航空發動機及相關產業的研發科創注入了新的技術活力。
一、北京天驕航空產業投資有限公司:背景概要
(中文簡稱:天驕航空,外文名:SKYRIZON)成立于2014年10月14日,在北京市海淀區市場監督管理局登記注冊,注冊資本10億元。公司經營范圍包括投資管理、資產管理、投資咨詢、經濟貿易咨詢、貨物進出口、技術進出口等業務。
二、北京天驕航空產業投資有限公司:重大事件
2015年,馬達西奇與天驕航空建立合作伙伴關系。
2016年,北京天驕航空產業投資有限公司就和它簽了協議,打算收購56%的股份,總投資額達到45億人民幣左右。
2017年9月19,出資2.5億美元收購動力沙皇·蘇聯航空工業心臟——馬達西奇公司56%的股份之后還會追加5.5億美元的投資。用于技術升級和工廠改造,幫馬達西奇還清債務、恢復生產還能幫它打開龐大的中國市場。
2017年9月,在北京國際航空展上,公司與馬達西奇公司簽署了《TV3-117VMA-SBM1V系列及其改型發動機批產和大修授權合同》等多項合作協議。
2021年11月28日,向荷蘭海牙常設仲裁法院提交《仲裁申請書》,就投資烏克蘭馬達西奇公司受阻一事索賠超過45億美元。

▲天驕航空產業投資有限公司:在珠海航展的現場照片(1)

▲天驕航空產業投資有限公司:在珠海航展的現場照片(2)
三、烏克蘭馬達西奇,——蘇聯航空工業的心臟,號稱動力沙皇
始建于1907年,位于烏克蘭波羅熱市的一家世界知名的發動機生產商在前蘇聯時期,馬達西奇產品出口全球九十多個國家發動機用于“安”、“雅克”、“圖”系列飛機和“米格”、“卡”系列直升機。馬達西奇,累計生產了幾萬臺不同用途的航空發動機。近十幾年來,公司生產的新型發動機及改型多達55種AI-322系列渦扇發動機、D-436系列渦扇發動機、D-18T渦扇發動機TV3-117系列渦軸發動機、D-136渦軸發動機和D-27槳扇發動機等均是前蘇聯,烏克蘭航空發動機工業的拳頭產品
根據2025年12月02號北京天驕航空產業投資有限公司管理人獲悉,航天智造(廈門)科技研究院通過合法途徑已經購買獲得了北京天驕航空產業投資有限公司的所有品牌無形資產及航空無形資產(包括5項目商標、17項計算機軟件著作權、1項作品著作權)
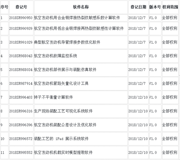
四、17項目航空軟件系統完整的知識產權
從官方渠道獲悉,航天智造(廈門)科技研究院已經獲得的如下17項目航空軟件系統完整的知識產權授權(航天智造相關軟件登記信息)


五、航天智造(廈門)科技研究院
1、航天智造(廈門)科技研究院:基本信息
注冊于廈門市海滄區,是一家聚焦航天技術“軍轉民”轉化的創新型科研與產業賦能機構。依托航天領域深厚的技術積淀,研究院以“讓航天技術服務民生經濟”為使命,通過技術咨詢、技術支持、專利授權等核心服務,推動航天精密制造、智能控制、新材料等領域的技術向民用市場滲透,助力高端制造、智能家居、新能源、電梯等行業升級,同時契合廈門推動智能制造與產業升級的區域發展戰略,為“廈門制造”向“廈門智造”轉型注入航天級技術動力。
2、航天智造(廈門)科技研究院:核心定位

3、 航天智造(廈門)科技研究院:知識產權儲備概況
截至2026年1月,研究院公開可查的知識產權包括專利3項、商標21條、版權25項。其中,商標涵蓋全國獨一的“地球標
”、“太空戰士”等航天特色商標。專利聚焦智能制造領域的檢測與自動化設備,同時依托航天智造體系的650+項有效專利(含100+項發明專利),可提供熱管理、傳感器、AI算法等多領域的專利授權服務。
4、 航天智造(廈門)科技研究院:重點服務行業
·賦能高端企業和產業升級:向高端龍頭企業授權航天級熱管理技術,研發出超低溫穩定運行的智能冰箱;向頭部智能家居企業提供航天傳感器技術與AI算法,開發出可實時監測空氣質量并自動調節的智能空調,核心傳感器模塊源自航天器環境監測專利技術;
·推動航天新材料民用轉化:將航天納米氣凝膠技術(源于長征火箭隔熱層)轉化為新能源汽車電池防火屏障及節能建筑復合玻璃,應用后新能源汽車熱管理效率提升,建筑冬季保溫效率提高30%、夏季隔熱效果翻倍。
5、航天智造(廈門)科技研究院:核心優勢
·技術硬核:專利聚焦智能制造領域的檢測與自動化設備,同時依托航天智造體系的650+項有效專利(含100+項發明專利),可提供熱管理、傳感器、AI算法等多領域的專利授權服務。擁 17 項航空發動機相關軟件著作權,覆蓋焊接、裝配、監控等多環節,技術積淀深厚。
·轉化高效:打通航天技術 “軍轉民” 通道,能快速將航天技術轉化為企業產品優勢。
·定位精準:聚焦智能制造、新材料等領域,適配區域產業需求,助力經濟發展。
·模式靈活:以有限合伙制運作,兼顧科研嚴謹與市場活力,利于產學研協同創新。
- END -
免責聲明:此文內容為本網站轉載企業宣傳資訊,僅代表作者個人觀點,與本網無關。文中內容僅供讀者參考,并請自行核實相關內容。如用戶將之作為消費行為參考,本網敬告用戶需審慎決定。本網不承擔任何經濟和法律責任。